
![]() |
![]() |
Здравствуйте, Гость ( Авторизация | Регистрация )
![]() |
![]() |
![]() ![]() ![]() |
![]() |
![]() |
| SevRay |
Jul 11 2019, 23:19
Создана
#3221
|
|
Профи ![]() ![]() ![]() ![]() ![]() ![]() Группа: Забанены Сообщений: 1,634 Зарегистрирован: 22-March 19 Пользователь №: 2,380,545 ![]() ![]() ![]() Пол: мужской Номер карты: 79787832789 Репутация: 24 кг |
|
![]() |
![]() |
![]() |
![]() |
| SevRay |
Jul 11 2019, 23:23
Создана
#3222
|
|
Профи ![]() ![]() ![]() ![]() ![]() ![]() Группа: Забанены Сообщений: 1,634 Зарегистрирован: 22-March 19 Пользователь №: 2,380,545 ![]() ![]() ![]() Пол: мужской Номер карты: 79787832789 Репутация: 24 кг |
QUOTE(DoKKKK @ Jul 11 2019, 23:17) Ну а какая разница если от той же тёрки на практике, грубо говоря, одиночные частоты эквика не сильно то справляются с комом грунта, по сравнению с мульти... Да, забыл добавить, под комом грунта 20 копеек 1945 года. https://www.youtube.com/watch?v=NfkP0DgFgRQ Потому-что одиночные частоты в экв сделаны - шоб було, просто прицепом. Прибор изначально разрабатывался под мульти, поэтому он и работает на мульти правильно. |
![]() |
![]() |
![]() |
![]() |
| DoKKKK |
Jul 11 2019, 23:26
Создана
#3223
|
|
Профи ![]() ![]() ![]() ![]() ![]() ![]() Группа: Посетители Сообщений: 2,329 Зарегистрирован: 26-January 19 Пользователь №: 2,379,338 ![]() ![]() Металлоискатель: Terra 505, Eqx 600 Пол: мужской Репутация: 182 кг |
QUOTE(SevRay @ Jul 11 2019, 23:23) Потому-что одиночные частоты в экв сделаны - шоб було, просто прицепом. Прибор изначально разрабатывался под мульти, поэтому он и работает на мульти правильно. Это понятно, но повторю, какая разница нам на практике до того что : QUOTE на Экв. нет частоты в привычном ее понимании... есть длительность импульса а не гармоничные колебания, и соответственно совершенно другая энергетика. Естественно и методы обработки координально отличаются от обычных резонансных МД поэтому и чувство что прибор другой он и есть другой. -------------------- Чтобы избегать ошибок, надо набираться опыта, чтобы набираться опыта, надо делать ошибки...
Павел. |
![]() |
![]() |
![]() |
![]() |
| Lvovich |
Jul 11 2019, 23:27
Создана
#3224
|
|
Профи ![]() ![]() ![]() ![]() ![]() ![]() Группа: VIP Сообщений: 12,621 Зарегистрирован: 24-November 08 Из: Москва Пользователь №: 6,674 ![]() ![]() Металлоискатель: AKA Пол: мужской Репутация: 258 кг |
QUOTE(Землеройк @ Jul 11 2019, 23:58) Виктор Олегович, ну какой Вам интерес спорить с набором символов ника, у которого знаний ноль, и лишь туповатый пафос с надуванием щек на пустом месте? Это же пустышка, абсолютный ноль. Ну как какой...? Почтенная публика не только веселится под Ветерка , но и ...расширяет свой кругозор.... например, по части изучения границ идиотизма... Ну вспомни тезис о « полезных идиотах» |
![]() |
![]() |
![]() |
![]() |
| Baiker |
Jul 11 2019, 23:33
Создана
#3225
|
|
Профи ![]() ![]() ![]() ![]() ![]() ![]() Группа: VIP Сообщений: 10,803 Зарегистрирован: 20-February 09 Из: Ярославская губ. 76 Пользователь №: 8,076 ![]() ![]() Пол: мужской Номер карты: .......4978 Репутация: 813 кг |
QUOTE(Землеройк @ Jul 11 2019, 22:58) Фиг с ними,с частотами и резонансами,меня другой вопрос интересует -------------------- Талантливый человек, который талантлив во всём, обычно особенно талантлив в употреблении водки...
|
![]() |
![]() |
![]() |
![]() |
| Lvovich |
Jul 11 2019, 23:34
Создана
#3226
|
|
Профи ![]() ![]() ![]() ![]() ![]() ![]() Группа: VIP Сообщений: 12,621 Зарегистрирован: 24-November 08 Из: Москва Пользователь №: 6,674 ![]() ![]() Металлоискатель: AKA Пол: мужской Репутация: 258 кг |
QUOTE(Shon @ Jul 11 2019, 23:24) Дайте человеку выровнять дыхание, У меня вопрос к вам Львович: + и - воздействия вращающегося магнитного поля на грунт? Присматриваюсь. Вращающийся вектор многомерен. Например , может быть очень полезен в решении задачи повышения достоверности идентификации .... без сканирования. |
![]() |
![]() |
![]() |
![]() |
| Lvovich |
Jul 11 2019, 23:37
Создана
#3227
|
|
Профи ![]() ![]() ![]() ![]() ![]() ![]() Группа: VIP Сообщений: 12,621 Зарегистрирован: 24-November 08 Из: Москва Пользователь №: 6,674 ![]() ![]() Металлоискатель: AKA Пол: мужской Репутация: 258 кг |
QUOTE(Baiker @ Jul 12 2019, 00:33) Фиг с ними,с частотами и резонансами,меня другой вопрос интересует Судя по напору коллеги - видно не последняя. Предлагаю уменьшить размер медалек ... без выхолащивания художественного замысла. |
![]() |
![]() |
![]() |
![]() |
| SevRay |
Jul 11 2019, 23:42
Создана
#3228
|
|
Профи ![]() ![]() ![]() ![]() ![]() ![]() Группа: Забанены Сообщений: 1,634 Зарегистрирован: 22-March 19 Пользователь №: 2,380,545 ![]() ![]() ![]() Пол: мужской Номер карты: 79787832789 Репутация: 24 кг |
QUOTE(Baiker @ Jul 11 2019, 23:33) Фиг с ними,с частотами и резонансами,меня другой вопрос интересует Новую нарисуют, как вместо пяти звезд маленьких капитана дают одну большую майора.... Пять должно влезть. Сообщение отредактировано SevRay: Jul 11 2019, 23:44 |
![]() |
![]() |
![]() |
![]() |
| SevRay |
Jul 11 2019, 23:48
Создана
#3229
|
|
Профи ![]() ![]() ![]() ![]() ![]() ![]() Группа: Забанены Сообщений: 1,634 Зарегистрирован: 22-March 19 Пользователь №: 2,380,545 ![]() ![]() ![]() Пол: мужской Номер карты: 79787832789 Репутация: 24 кг |
QUOTE(SevRay @ Jul 11 2019, 23:19) Я уже показывал картинку... ![]() Надеюсь светилы приборостроения сразу поняли с какого это прибора и зачем в нем именно такой сигнал и нам всем сейчас все это объяснят... Что никто незнает? прямо беда с теоретиками...И эти люди запрещают мне ковыряться в носу (рассказывают каким должен быть правильный МД).... |
![]() |
![]() |
![]() |
![]() |
| SevRay |
Jul 11 2019, 23:54
Создана
#3230
|
|
Профи ![]() ![]() ![]() ![]() ![]() ![]() Группа: Забанены Сообщений: 1,634 Зарегистрирован: 22-March 19 Пользователь №: 2,380,545 ![]() ![]() ![]() Пол: мужской Номер карты: 79787832789 Репутация: 24 кг |
QUOTE(DoKKKK @ Jul 11 2019, 23:26) Это понятно, но повторю, какая разница нам на практике до того что : На практике экв решает поисковые задачи шире чем терка. |
![]() |
![]() |
![]() |
![]() |
| Baiker |
Jul 11 2019, 23:59
Создана
#3231
|
|
Профи ![]() ![]() ![]() ![]() ![]() ![]() Группа: VIP Сообщений: 10,803 Зарегистрирован: 20-February 09 Из: Ярославская губ. 76 Пользователь №: 8,076 ![]() ![]() Пол: мужской Номер карты: .......4978 Репутация: 813 кг |
QUOTE(SevRay @ Jul 11 2019, 23:54) На практике экв решает поисковые задачи шире чем терка. На практике бывает,что опытный оператор с Теркой херачит так,что владельцы Эква грустно матерятся в пол голоса -------------------- Талантливый человек, который талантлив во всём, обычно особенно талантлив в употреблении водки...
|
![]() |
![]() |
![]() |
![]() |
| scandijinior |
Jul 12 2019, 00:03
Создана
#3232
|
|
Профи ![]() ![]() ![]() ![]() ![]() ![]() Группа: VIP Сообщений: 24,493 Зарегистрирован: 6-June 08 Из: Москва Пользователь №: 4,828 ![]() Репутация: 495 кг |
QUOTE(SevRay @ Jul 12 2019, 00:54) ... решает поисковые задачи шире чем терка. "...сейчас к людям надо помягше... А на вопросы смотреть ширше." (с) -------------------- Сегодня ты никому не нужен , а вот завтра .. тоже.
|
![]() |
![]() |
![]() |
![]() |
| Землеройк |
Jul 12 2019, 00:04
Создана
#3233
|
|
Профи ![]() ![]() ![]() ![]() ![]() ![]() Группа: Модераторы Сообщений: 11,646 Зарегистрирован: 24-October 05 Пользователь №: 48 ![]() ![]() Металлоискатель: Intronik STF, GPX Пол: мужской Репутация: 971 кг |
QUOTE(SevRay @ Jul 12 2019, 00:42) Новую нарисуют, как вместо пяти звезд маленьких капитана дают одну большую майора.... Пять должно влезть. Разговаривают два педика Я хотел бы быть футболистом говорит один А почему вопрошает другой А ты представь вот бегу я с мячом обвожу всех и вратаря трибуны ревут от восторга передо мною пустые ворота я замахиваюсь бью и... мяч летит выше ворот Трибуны взрываются, все кричат "ПИДАРАС!!!" , а я бегу мимо и кланяюсь, кланяюсь... Напомнило... -------------------- Дорога там, где надо проехать! Плач и мат спутников бесполезен, и не воспринимается. Проедем.
Развеселись, в плен не поймать ручья, Зато ласкает белая струя. Нет в женщине и в жизни постоянства, Зато... бывает очередь твоя. Омар Хайям |
![]() |
![]() |
![]() |
![]() |
| scandijinior |
Jul 12 2019, 00:13
Создана
#3234
|
|
Профи ![]() ![]() ![]() ![]() ![]() ![]() Группа: VIP Сообщений: 24,493 Зарегистрирован: 6-June 08 Из: Москва Пользователь №: 4,828 ![]() Репутация: 495 кг |
QUOTE(SevRay @ Jul 12 2019, 00:48) Что никто незнает? прямо беда с теоретиками...И эти люди запрещают мне ковыряться в носу (рассказывают каким должен быть правильный МД).... Классика моделирования Основная проблема такого подхода, та о которой вас десять раз спрашивал, чуть выше Lvovich.. Сообщение отредактировано scandijinior: Jul 12 2019, 00:14 -------------------- Сегодня ты никому не нужен , а вот завтра .. тоже.
|
![]() |
![]() |
![]() |
![]() |
| Leisure |
Jul 12 2019, 06:40
Создана
#3235
|
|
Профи ![]() ![]() ![]() ![]() ![]() ![]() Группа: VIP Сообщений: 3,209 Зарегистрирован: 15-February 17 Из: другого измерения Пользователь №: 2,359,396 Металлоискатель: MFT>MFD>STF Пол: мужской Номер карты: 12....34 Репутация: 68 кг |
QUOTE(Lvovich @ Jul 11 2019, 23:27) Ну как какой...? Почтенная публика не только веселится под Ветерка , но и ...расширяет свой кругозор.... например, по части изучения границ идиотизма... Ну вспомни тезис о « полезных идиотах» Игоря Юрьевича можно поздравить: он уже на полпути к цели- полный кавалер ордена сверкающего зуба -------------------- Золото, падая в грязь, не теряет ценности.
Ещё вчера был Падишахом мира, а сегодня нет и 10 акче. |
![]() |
![]() |
![]() |
![]() |
| Юрбен |
Jul 12 2019, 08:27
Создана
#3236
|
|
Профи ![]() ![]() ![]() ![]() ![]() ![]() Группа: VIP Сообщений: 1,866 Зарегистрирован: 7-February 14 Из: Подольск Пользователь №: 64,801 Металлоискатель: Minelab CTX3030 Пол: мужской Репутация: 86 кг |
QUOTE(SevRay @ Jul 12 2019, 00:42) Новую нарисуют, как вместо пяти звезд маленьких капитана дают одну большую майора.... Пять должно влезть. Если память не изменяет, у капитана 4 звезды. У вас пока тянет либо на прапора, либо на лейтенанта, смотря как расположить звездюли |
![]() |
![]() |
![]() |
![]() |
| SevRay |
Jul 12 2019, 09:42
Создана
#3237
|
|
Профи ![]() ![]() ![]() ![]() ![]() ![]() Группа: Забанены Сообщений: 1,634 Зарегистрирован: 22-March 19 Пользователь №: 2,380,545 ![]() ![]() ![]() Пол: мужской Номер карты: 79787832789 Репутация: 24 кг |
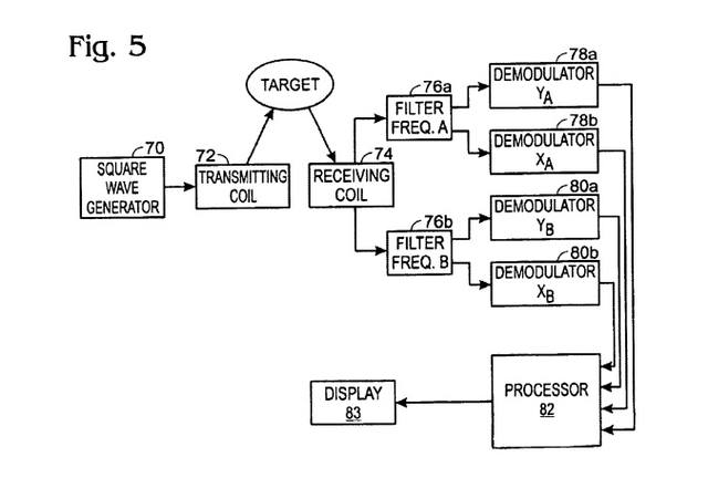
QUOTE(scandijinior @ Jul 12 2019, 00:03) "...сейчас к людям надо помягше... А на вопросы смотреть ширше." (с) Для того чтобы обсуждать принципы, МД, надо иметь и понимать хотя-бы структурную схему прибора. Если на приборы Если посмотреть на структурные схему интроника (нарисованные на от балды) ![]() и схему от ![]() То в чем разница? В том что патент вайс на 10 лет старше... Сообщение отредактировано SevRay: Jul 12 2019, 10:33 |
![]() |
![]() |
![]() |
![]() |
| scandijinior |
Jul 12 2019, 11:14
Создана
#3238
|
|
Профи ![]() ![]() ![]() ![]() ![]() ![]() Группа: VIP Сообщений: 24,493 Зарегистрирован: 6-June 08 Из: Москва Пользователь №: 4,828 ![]() Репутация: 495 кг |
QUOTE(SevRay @ Jul 12 2019, 10:42) Для того чтобы обсуждать принципы, МД, надо иметь и понимать хотя-бы структурную схему прибора. А может надо для начала понимать задачи? Определение структуры системы, т.е. понимание общего вида математического оператора, связывающего вход с выходом. А так же определение синтезов параметров( это то что вы назвали бредом -------------------- Сегодня ты никому не нужен , а вот завтра .. тоже.
|
![]() |
![]() |
![]() |
![]() |
| Землеройк |
Jul 12 2019, 11:32
Создана
#3239
|
|
Профи ![]() ![]() ![]() ![]() ![]() ![]() Группа: Модераторы Сообщений: 11,646 Зарегистрирован: 24-October 05 Пользователь №: 48 ![]() ![]() Металлоискатель: Intronik STF, GPX Пол: мужской Репутация: 971 кг |
QUOTE(SevRay @ Jul 12 2019, 10:42) Для того чтобы обсуждать принципы, МД, надо иметь и понимать хотя-бы структурную схему прибора. Если на приборы Если посмотреть на структурные схему интроника (нарисованные на от балды) ![]() и схему от ![]() То в чем разница? В том что патент вайс на 10 лет старше... Самое замечательное в этой пурге, что о патентах рассуждает "специалист", назвавший прилюдно на этом форуме бредом выдержку из патента После такого феерического зашквара, Игорь Юрьич, все ваши рассуждения о структурах и патентах - не более чем болтавня дилетанта - рисовщика. Не с вашим уровнем знаний и понимания этого вопроса. -------------------- Дорога там, где надо проехать! Плач и мат спутников бесполезен, и не воспринимается. Проедем.
Развеселись, в плен не поймать ручья, Зато ласкает белая струя. Нет в женщине и в жизни постоянства, Зато... бывает очередь твоя. Омар Хайям |
![]() |
![]() |
![]() |
![]() |
| SevRay |
Jul 12 2019, 11:42
Создана
#3240
|
|
Профи ![]() ![]() ![]() ![]() ![]() ![]() Группа: Забанены Сообщений: 1,634 Зарегистрирован: 22-March 19 Пользователь №: 2,380,545 ![]() ![]() ![]() Пол: мужской Номер карты: 79787832789 Репутация: 24 кг |
QUOTE(Землеройк @ Jul 12 2019, 11:32) Самое замечательное в этой пурге, что о патентах рассуждает "специалист", назвавший прилюдно на этом форуме бредом выдержку из патента Откуда у Львовича патент эквинокса? Он его сам придумал специально для Вас? Отсыпьте патента... Дайте ссылку... |
![]() |
![]() |
![]() ![]() ![]() |
| Упрощенная Версия · Рекламодателям | Сейчас: 6th February 2026 - 12:51 | |
![]() |